SZD11-63/400010-B — это ручной выключатель нагрузки, объединяющий функции четырехполюсной изоляции и внешнего управления, с номинальным током 63 А. Его конструкция сердечника подходит для трехфазных четырехпроводных (3P N) электрических систем. Выключатель установлен на основании и безопасно работает снаружи шкафа управления с помощью длиннорычажного механизма, включающего обязательную механическую блокировку дверного выключателя. Этот механизм блокировки гарантирует, что дверцу шкафа можно открыть только тогда, когда ручка переключателя находится в положении "ВЫКЛ" (все полюса, включая нейтральный полюс N, отключены); и наоборот, если дверца шкафа открыта, переключатель невозможно закрыть, что физически исключает риск контакта под напряжением и делает его ключевым компонентом, соответствующим самому высокому уровню стандартов электробезопасности.
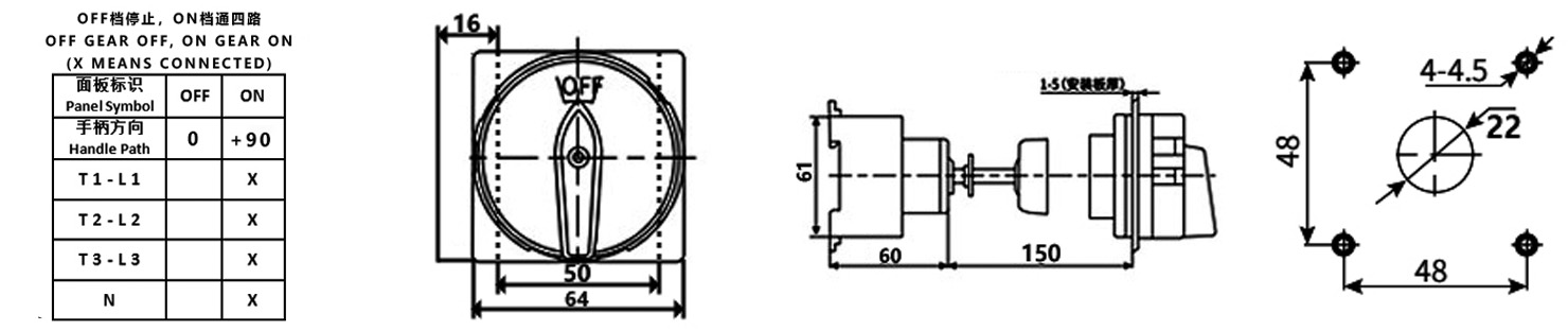
Функция: Двухпозиционная (ВКЛ/ВЫКЛ) работа. В положении «ВКЛ» надежно соединены трехфазные главные контакты (T1-L1, T2-L2, T3-L3) и нейтральный полюс (N); в положении «ВЫКЛ» все полюса (включая полюс N) полностью отключены, что обеспечивает полную электрическую изоляцию. В этом месте также имеется точка навесного замка (шкафчик поставляется отдельно), поддерживающая дополнительную блокировку безопасности (LOTO).
Механизм блокировки дверей: обязательная механическая блокировка, основная гарантия достижения логики безопасности «открытая дверь, выключение питания; выключение питания двери, открытие двери».
Способ установки: Основание корпуса переключателя устанавливается внутри шкафа и соединяется с рабочей ручкой снаружи дверцы шкафа посредством жесткого длинного стержня, обеспечивающего внешнее управление. Такая конструкция обеспечивает защиту корпуса выключателя, облегчает эксплуатацию и исключает необходимость в больших отверстиях в панели.
Электрические характеристики:
Номинальный рабочий ток: 63 А
Номинальное рабочее напряжение: переменный ток 440 В, 50 Гц
Количество полюсов: 4 полюса (3P N)
Стандарты соответствия: GB/T 14048.3, IEC 60947-3
Эксплуатационные характеристики: Большое расстояние изоляции, высокая скорость разрушения, обеспечение эксплуатационной безопасности и надежности.
Проводка и срок службы:
Клеммы: винты М4, рекомендуемая площадь поперечного сечения проволоки 6,0 –10 мм², момент затяжки 1,2 Н·м.
Срок службы электрооборудования: AC-23 (распределительная нагрузка) ≥ 10 000 циклов; AC-3 (нагрузка двигателя) ≥ 6 000 циклов.
Рабочая частота: Номинальная рабочая нагрузка 8-часовой цикл/прерывистый цикл ≤ 30 циклов/час.
Условия эксплуатации: температура окружающей среды от -25°C до 40°C, высота ≤ 2000 м, адаптируется к нормальной промышленной влажности окружающей среды.
Сценарии применения: Этот переключатель специально разработан для промышленных и коммерческих трехфазных четырехпроводных цепей распределения и управления электроэнергией со строгими требованиями к эксплуатационной безопасности, соблюдению требований технического обслуживания и целостности системы (отключение нейтральной линии).
Схемы распределения электроэнергии высокого стандарта безопасности: подходят для центров обработки данных, помещений с оборудованием связи, медицинских учреждений, лабораторий и коммерческих/промышленных распределительных коробок, использующих системы заземления TN-S или TN-CS. В качестве основного разъединителя ответвленных цепей или оборудования его функция четырехполюсной изоляции имеет решающее значение.
Шкафы управления с обязательными защитными блокировками: используются в качестве главных выключателей питания на часто обслуживаемом оборудовании, таком как шкафы управления производственной линией, большие блоки управления блоками отопления, вентиляции и кондиционирования воздуха и центры управления насосами. Функция блокировки дверей является обязательной конфигурацией для обеспечения безопасности обслуживающего персонала.
Ситуации, требующие безопасной эксплуатации снаружи шкафа: обеспечивает безопасное и удобное рабочее решение для трехфазных четырехпроводных нагрузок класса 63А (таких как вентиляторные блоки, насосные агрегаты и компрессоры среднего размера), установленных в закрытых шкафах и требующих внешнего переключения питания.
Ключевой момент соответствия: знаковый продукт, отвечающий строгим внутренним и международным стандартам электробезопасности (таким как предотвращение неправильной эксплуатации и обязательная изоляция нейтральной линии), широко используемый в инженерных проектах, требующих сертификации соответствия.